Device for Fibrous Plant-Based Meat: Innovation by Meatless BV
SUSTAINABILITYALTERNATIVE PROTEINS


This is an AI generated illustration and does not represent actual product or service.
In recent years, the global shift towards plant-based diets has accelerated, driven by health, environmental, and ethical considerations. Consumers are increasingly seeking alternatives to animal-based products, particularly meat, which has led to a surge in demand for vegetarian and vegan substitutes. However, replicating the sensory characteristics of meat—such as its fibrous texture, taste, and appearance—has been a significant challenge for the food industry. Addressing this challenge, Dutch company Meatless has developed a device and method for producing edible non-animal-based fibrous products, as detailed in their recent patent application.
The Challenge of Mimicking Meat
Meat’s unique fibrous texture is one of its most defining characteristics, making it particularly difficult to replicate using plant-based ingredients. Traditional methods of creating plant-based meat substitutes often fall short in delivering the desired texture, resulting in products that lack the mouthfeel and satisfaction of real meat.
Meatless’ invention aims to overcome these limitations by introducing a device and method that enables the efficient, reproducible, and flexible production of non-animal-based fibrous products. This innovation not only meets the growing demand for plant-based meat but also ensures that the final product closely mimics the texture and appearance of animal-based meat.
The Meatless Device: A Closer Look
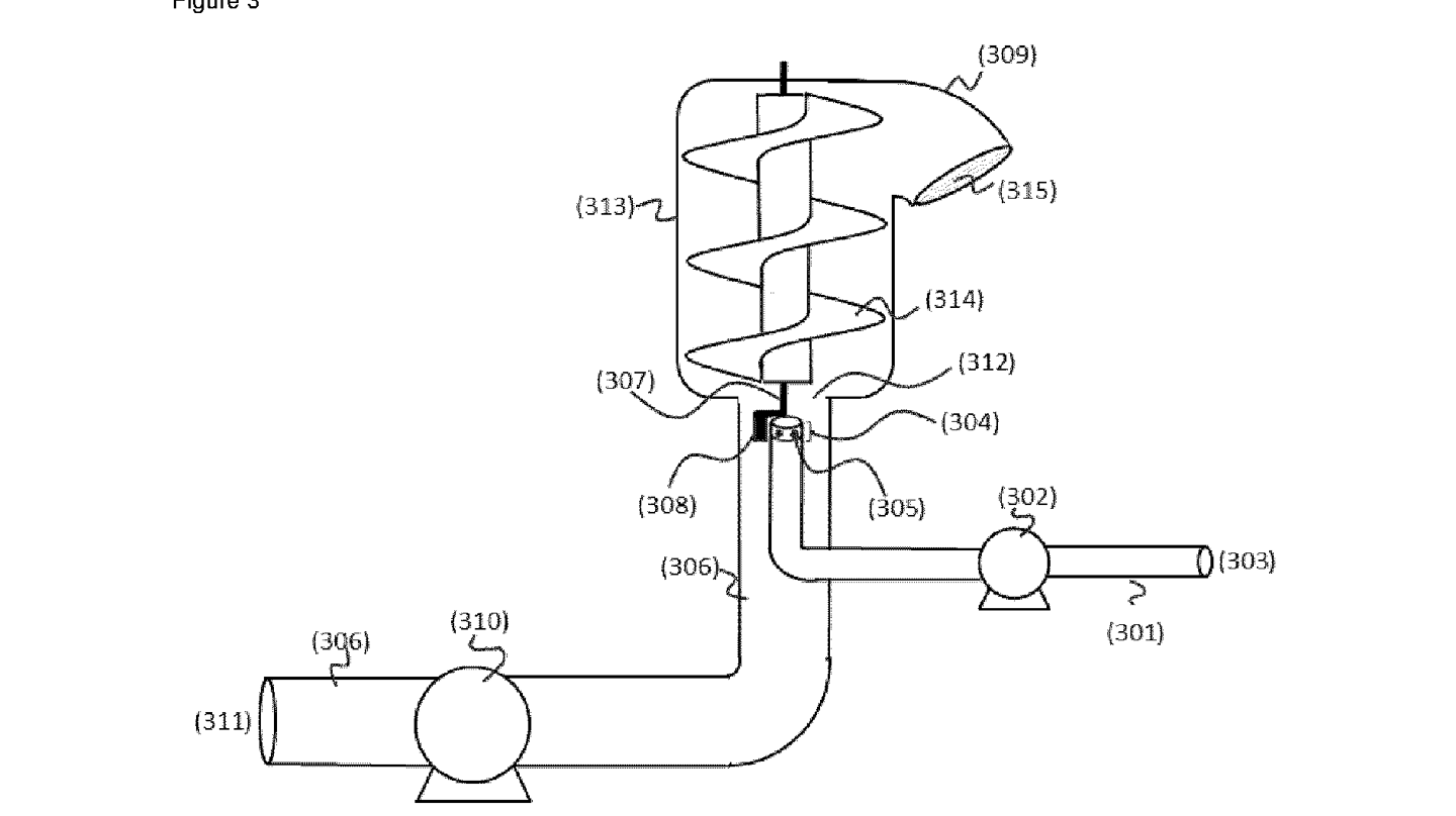
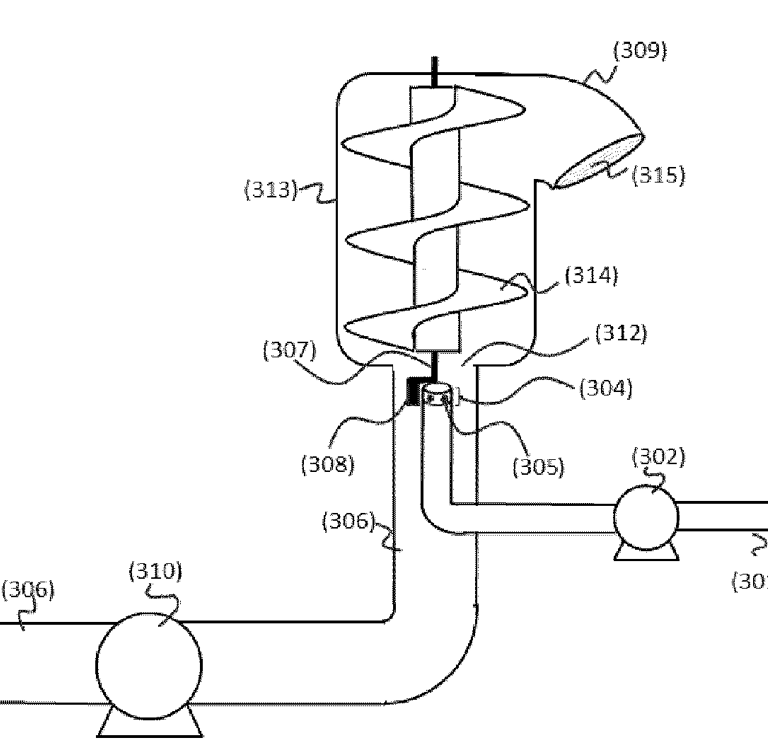
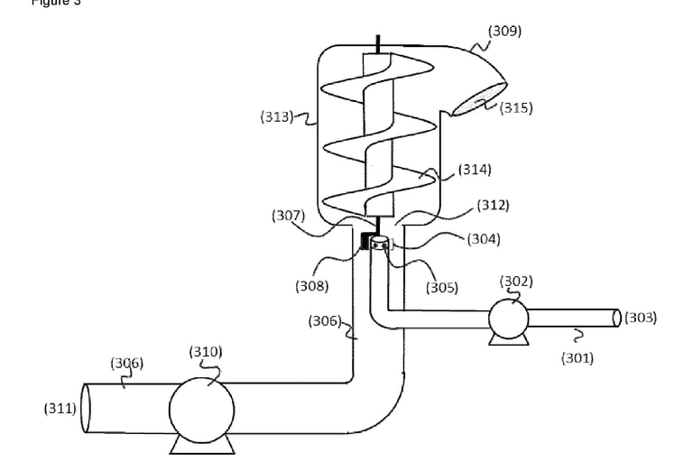
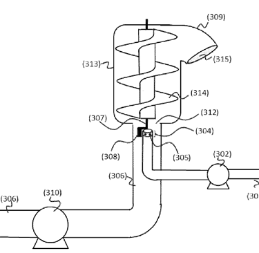
The Slurry Supply System
A pump pushes a thick, protein-rich mixture (called a slurry) through a pipe.
The slurry is made from plant-based ingredients like pea protein, rice flour, or mycoproteins, mixed with water and a gelling agent called alginate.
The Flow Distributor
At the end of the pipe, the slurry passes through small holes (called apertures) in a flow distributor.
These holes determine the shape and size of the final product. For example, smaller holes create thin fibers, while larger holes create chunkier pieces.
The Calcium Bath
As the slurry exits the holes, it enters a bath of calcium solution (like calcium chloride dissolved in water).
The calcium reacts with the alginate in the slurry, causing the outer layer to harden and form a skin-cured shape. This step is crucial for creating a meat-like texture.
The Cutting Mechanism
A rotating knife or blade cuts the skin-cured shape into smaller pieces as it exits the flow distributor.
The distance between the blade and the holes can be adjusted to control the length and thickness of the fibers.
The Collection System
The final product—now a fibrous, plant-based meat substitute—is collected in a container.
The product can be further processed, such as by soaking it in more calcium solution to enhance its texture, or by heat-treating it for safety and shelf life.
Key Advantages of the Meatless Device
The Meatless device offers several significant advantages over existing methods:
1. Continuous Production: Unlike batch processes, the device enables a continuous flow of production, making it highly efficient and suitable for large-scale manufacturing.
2. Precision and Reproducibility: The device allows for precise control over the size, shape, and texture of the fibrous product, ensuring consistency across batches.
3. Reduced Waste: By minimizing product loss and simplifying cleaning operations, the device reduces waste and lowers production costs.
4. Flexibility: The flow distributor and dividing element can be customized to produce a wide range of textures and shapes, catering to diverse consumer preferences.
5. Scalability: The industrial design of the device makes it ideal for high-volume production, meeting the growing demand for plant-based meat alternatives.
Applications and Implications
The Meatless device and method have far-reaching implications for the food industry. By enabling the production of plant-based meat substitutes with a realistic fibrous texture, this innovation can help bridge the gap between traditional meat and plant-based alternatives. The device’s scalability and efficiency make it an attractive solution for food manufacturers looking to capitalize on the growing demand for vegan and vegetarian products.
Moreover, the ability to customize the texture and shape of the final product opens up new possibilities for creating a wide range of plant-based foods, from burgers and sausages to meatballs and nuggets. This flexibility allows manufacturers to cater to diverse consumer preferences and dietary needs.


