Meet the Startup Disrupting the Freezing of Food
SUSTAINABILITYFROZEN FOODDAIRY & ALTERNATIVES


Freezing, a widely used preservation method, effectively slows decomposition and inhibits microbial growth. However, the traditional freezing process often causes ice crystallization, which damages food's cellular structure, resulting in loss of texture, taste, and overall quality. These issues, coupled with challenges like lipid oxidation and protein denaturation during extended freezing, highlight the need for a more sophisticated preservation method.
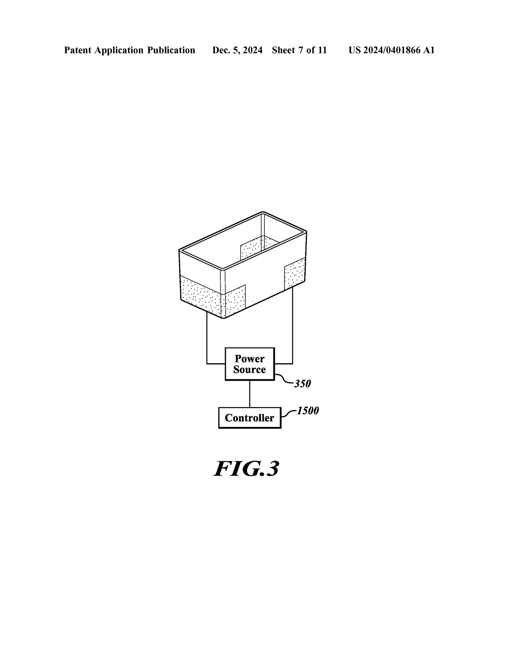
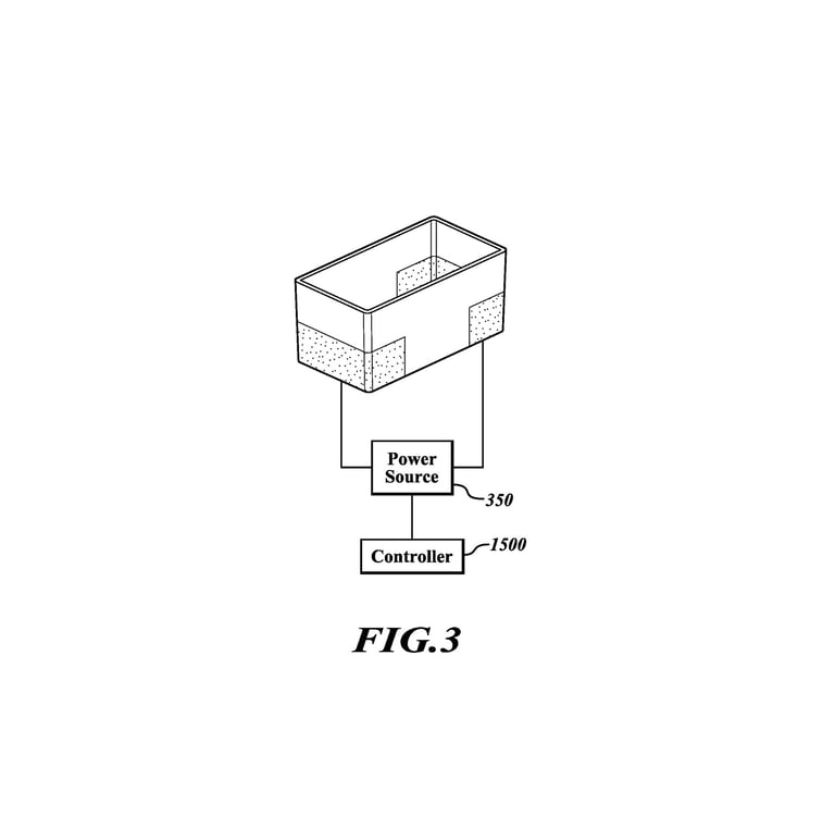
A spinout startup from the University of Hawai’i and Xerox PARC (Palo Alto Research Center), Evercase inc, could revolutionize this with its pulsed electric fields based freezing system. This patent-pending innovation introduces specialized containers equipped with electrodes and temperature control mechanisms. The core of this innovation lies in the use of pulsed electric fields applied through a network of electrodes within the container. These fields disrupt the natural process of ice crystallization, preserving the structural integrity of the food.
How It Works?
Pulsed Electric Field Application
A network of electrodes within the container applies a pulsed electric field (PEF) to perishable goods. The PEF disrupts ice crystal formation, maintaining the structural integrity and freshness of the product.
Impedance-Based Electrode Selection
The system uses impedance data to identify the optimal pair of electrodes for each product, ensuring efficient energy distribution and preservation.
Temperature Control for Supercooling
By maintaining a specific temperature range (0°C to -80°C), the system prevents recrystallization and minimizes structural damage during storage and transportation.
Oscillating Magnetic Fields
Concurrent application of oscillating magnetic fields enhances the preservation process, ensuring uniform treatment across the product surface.
The benefits of this technology extend beyond quality preservation. By significantly prolonging the shelf life of perishable goods, the system helps to minimize food waste and spoilage, which is crucial for both economic and environmental sustainability. The technology prevents structural damage caused by ice crystals, ensuring that the sensory and nutritional properties of food remain intact. Additionally, its intelligent energy management system optimizes power usage, reducing energy costs associated with freezing and thawing.
This innovation has wide-ranging applications. In the food supply chain, it can extend the shelf life of goods during long-haul transportation. Retailers can use it to maintain the freshness of produce and meat on supermarket shelves. Beyond the food industry, the technology can also be applied to medical fields for preserving biological tissues and samples. The company currently offers refrigeration systems for home usage, retail shelf displays and transport vehicle usage.


