Starbucks’ RFID-Powered Smart Display System: The Future of Order Tracking
BEVERAGES


This is an AI generated illustration and does not represent actual product or service.
In the fast-paced world of food and beverage service, speed and accuracy are everything. Long wait times, order mix-ups, and inefficient workflows can frustrate customers and hurt a brand’s reputation. Starbucks, always at the forefront of retail innovation, has ben granted a patent for an intelligent RFID-based display system that could revolutionize how orders are tracked, displayed, and fulfilled in its stores.
This technology promises real-time order updates, reduced errors, and smoother operations—addressing some of the biggest pain points in quick-service restaurants. Let’s break down how it works and what it means for the future of food tech.
How the Starbucks RFID System Works
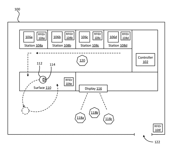
At its core, this system uses Radio Frequency Identification (RFID) tags attached to cups, food containers, or packaging, combined with RFID readers and digital displays to automate order tracking. Here’s a step-by-step look:
1. Tagging the Order
- Each cup or food container is embedded with (or has an adhesive) RFID tag containing a unique identifier.
- When an order is prepared, the system links the RFID tag to the customer’s name and order details.
2. Real-Time Detection at Key Points
- Pickup Counter (Handoff Plane):
- An RFID reader (embedded in or near the counter) detects when a drink is placed down.
- The system instantly updates a digital display to show the customer’s name (e.g., “John – Ready”).
- Workflow Stations (Behind the Counter):
- Multiple RFID readers track the drink’s progress (e.g., “Brewing,” “Milk Steaming,” “Final Assembly”).
- Customers (or baristas) see live status updates on screens.
3. Smart Removal & Reinstatement Logic
- If a customer accidentally picks up the wrong drink, the system:
- Detects the removal (via RFID signal loss).
- If the drink is returned within a short time (e.g., 30 seconds), the name reappears on the display.
- If the drink is gone longer, the system assumes it was correctly taken and removes the name.
4. Synchronizing Food & Beverage Orders
- If a drink is ready but the accompanying food item is delayed, the system can:
- Delay displaying the drink as “Ready” to prevent partial pickups.
- Notify the customer: “Your latte is ready, muffin arriving in 2 minutes.”
5. Exit Tracking & Analytics
- An RFID reader near the store exit logs when orders leave.
- Starbucks can analyze:
- Average pickup time (how long customers wait after their order is ready).
- Order accuracy (how often wrong items are taken).
- Peak-hour bottlenecks (where delays happen most).
Why This Matters: Implications for Food Tech
1. Faster, More Accurate Service
- No more shouting names – The display updates automatically.
- Fewer wrong orders – RFID ensures the right customer gets the right drink.
2. Better Customer Experience
- Real-time progress tracking (like Uber Eats for in-store orders).
- No more confusion at crowded pickup counters.
3. Operational Efficiency
- Baristas spend less time managing orders and more time making drinks.
- Dynamic workflow adjustments – If one station is lagging, the system can reroute orders.
4. Data-Driven Store Optimization
- Starbucks can use RFID analytics to:
- Adjust staffing during peak hours.
- Redesign store layouts for smoother flow.
- Identify training gaps (e.g., which stations have the most delays).
5. Future Integrations
- Mobile app sync – Customers get push notifications when their order is ready.
- Automated inventory – RFID could track ingredient usage in real time.
- AI-powered predictions – The system could forecast order prep times based on historical data.
The Big Picture: A Smarter Starbucks Experience
This patent signals Starbucks’ continued push into automation and IoT (Internet of Things) in retail. If successfully implemented, it could:
- Reduce wait times in high-traffic stores.
- Cut down on waste (fewer remade drinks due to errors).
- Set a new standard for QSR (Quick Service Restaurant) tech.
Other chains like McDonald’s (with its AI drive-thrus) and Panera (with its digital pickup shelves) are also innovating in this space—but Starbucks’ RFID approach offers a unique blend of real-time tracking, customer communication, and backend analytics.
Starbucks isn’t just selling coffee—it’s selling convenience and consistency. This RFID system could be a game-changer in making order fulfillment faster, smarter, and frustration-free.




