Weaving Meat: Could this be the Breakthrough for Structured Cultivated Steaks
ALTERNATIVE PROTEINSSUSTAINABILITY


This is an AI generated illustration and does not represent actual product or service.
For years, the holy grail of cultivated meat has been to move beyond the burger patty and replicate the complex, fibrous texture of a whole-cut steak or chicken breast. While producing minced meat in a bioreactor is a remarkable feat, recreating the aligned muscle fibers, fat marbling, and connective tissue of a prime cut has remained a monumental challenge.
A groundbreaking European patent application, EP4624640A1 from Germany's DWI - Leibniz-Institut für Interaktive Materialien, presents a revolutionary solution. Their invention? A method to spin cultivated meat into fibers, much like spinning yarn for textiles, opening the door to efficiently producing steaks with authentic, mouth-watering textures.
The Texture Problem in Cultivated Meat
Current approaches to creating structured meat often rely on 3D bioprinting or seeding cells onto pre-made scaffolds. While promising, these methods can be slow, expensive, difficult to scale, and often lack the internal space (porosity) needed for cells to grow into dense, mature tissue. The result is often a product that tastes like meat but feels disappointingly uniform, missing the satisfying chew and grain of its conventional counterpart.
The Innovation: Microcarriers Meet Fiber Spinning
The core of the DWI Institute's invention is a clever fusion of two established biotechnologies: microcarriers and wet-spinning.
Microcarriers as Cell Taxis: Microcarriers are tiny, edible beads used in large-scale biomanufacturing to grow massive quantities of adherent cells (like muscle cells) in bioreactors. In this process, animal cells are first grown on these microcarriers, allowing for efficient, industrial-scale cell production.
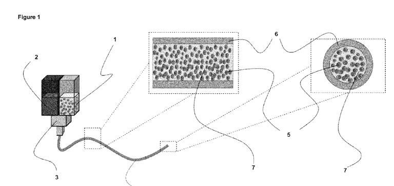
Spinning into Muscle Strands: The magic happens when this cell-laden microcarrier slurry is fed into a custom-built, core-shell spinning system.
The core of the spinneret extrudes the microcarriers and their attached cells, suspended in a nutrient-rich liquid.
The shell simultaneously extrudes a solution of a gelling compound, like alginate.
As this coaxial stream exits the nozzle and enters a coagulation bath (e.g., containing calcium ions), the shell instantly crosslinks, forming a stable, hollow fiber. The result? A cell-containing core-shell hollow fiber where the living cells are neatly packaged inside a protective alginate tube.
Schematic of the core-shell spinning process creating a hollow fiber filled with microcarriers and cells. (Fig. 1 from the patent)
Why This is a Game-Changer for Food Tech
This fiber-spinning approach solves multiple problems at once:
Authentic Texture: The fibers themselves mimic the fundamental structure of muscle fibers. By collecting and aligning these fibers in parallel bundles—for instance, on a rotating drum—the inventors can create a 3D construct with the same grain and directionality as natural meat.
Space to Grow: The hollow core of the fiber is not solid; it contains voids filled with liquid between the microcarriers. This provides crucial space for the cells to proliferate, migrate, and mature into dense, aligned tissue. Remarkably, the patent shows that after 10 days in culture, the cells fill these voids, forming continuous, linear muscle tissue along the fiber's length.
Scalability and Cost-Effectiveness: Fiber spinning is a continuous, high-throughput process derived from the textile industry. It is inherently faster and more scalable than layer-by-layer bioprinting, making it a strong candidate for mass production.
Precision and Marbling: Different cell types (muscle, fat, connective tissue) can be spun into separate fibers. These can then be interwoven or assembled in layers to create complex structures, like the marbling of fat in a Wagyu steak, with a level of control previously unimaginable.
Purity: The shell and microcarriers can be made from edible, degradable materials. Over time, they can be dissolved away (enzymatically or chemically), leaving behind a final product composed almost entirely of pure muscle cells and their own natural extracellular matrix—just like real meat.
The Future on the Plate
This patent from the DWI Institute represents a significant leap from lab-scale curiosity to industrial reality. It provides a clear and scalable pathway to a future where consumers can enjoy a cultivated steak that not only has the nutritional profile and taste of conventional meat but also delivers the same satisfying texture and mouthfeel.
By treating meat not as a mass to be printed, but as a yarn to be woven, this technology spins a new narrative for the future of food—one where sustainable, ethical, and delicious structured meats are within reach.




